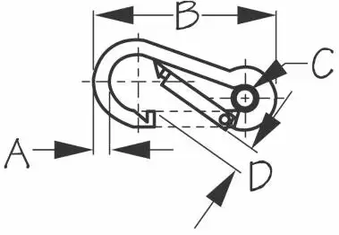
Seadog Snap Hook With Eye Insert
Formed 316 Stainless Steel
These Snap Hooks with Eye Inserts feature an interlocking, spring-loaded gate snap for quick attachment to a wide range of fixing points. The integral eye insert provides a secure attachment for use on harnesses, fishing lines, and mooring buoys. Ideal for multiple rigging and anchoring applications. Constructed of corrosion resistant formed 316 stainless steel.










Reviews
There are no reviews yet.